- [新聞]-->英威騰IPE200變頻器在扁鋼生產線主軋機上的應用
- [新聞]-->英威騰再獲新專利 引領電氣傳動 凸顯研發實力
- [新聞]-->英威騰被逼停建4000萬元變頻器項目
- [產品]-->Goodrive300變頻器
- [產品]-->CHHl00系列高壓變頻器
- [產品]-->CHV中壓系列矢量變頻器
產品推薦
產品分類
聯系方式
- 聯系人:英威騰
- 郵 箱:marketing@invt.com.cn
- 地 址:深圳市南山區龍井高發科技工業園4#樓——英威騰大廈
- 電 話:0755-86028999
- 傳 真:0755-86312937
- 網 址:http://www.invt.com.cn
英威騰CHH100高壓變頻器在離心式循環壓縮機上的應用
發布時間:2012-03-14
[摘要]通過對離心式循環壓縮機運行工藝的了解,山東某化工企業采用英威騰研發、生產的高壓變頻器對電機進行調速改造,取得了可觀的節能效益。
[關鍵詞]離心式循環壓縮機; 高壓變頻器;節能
一、 引言
山東某化工有限公司是山東石化集團公司的下屬企業,以重油的生產和銷售為主。主要產品包括93#、90#車用無鉛汽油,液化氣、柴油、焦炭、輕質油、丙烯等;其中高壓變頻器應用在丙烯車間的循環氣壓縮機上。此負載設備為離心式循環壓縮機,參數如下:
|
壓縮機型號 |
4V-2S |
電動機型號 |
YB450M1-2 |
|
生產廠家 |
錦西化工機械廠 |
生產廠家 |
南陽防爆電機廠 |
|
介質 |
合成氣(CO,H2等) |
額定功率Pdn |
450kW |
|
功率 |
323 kW |
額定轉速n0 |
2980 r/min |
|
額定轉速 |
14029 r/min |
額定電壓U0 |
6kV |
|
額定流量 |
20190 m3/h |
額定電流I0 |
52.1A |
|
入口壓力 |
1.35 MPa |
額定功率因數 |
0.88 |
|
出口壓力 |
1.85 MPa |
|
|
|
增速箱增速比 |
1:4.7 |
|
|
二、 應用環境分析
工藝流程如圖1所示:
圖1:丙烯收集系統工藝流程圖
在實際應用中,工頻時每次啟動壓縮機都是重載啟動,啟動起來十分不容易,同時還給工藝上帶來很大隱患,比如噪音大,啟動電流大,影響設備壽命、壓力突變等。另外,由于負載的波動性較大,電機很少在滿載情況下運行,僅依靠關出口閥、打回流來調節流量,浪費嚴重,能耗較高,運行十分不經濟。為了解決這一系列問題,通過多方調研,該化工廠決定采用高壓變頻器對電機進行調速改造。
三、 系統方案提出
1.變頻調速原理
按照電機學的基本原理,電機的轉速滿足如下的關系式:
n=(1-s)60f/ P =n0×(1-s) ………①
式中:P-電機極對數;f-電機運行頻率;s-滑差。
從式中看出,電機的同步轉速n0正比于電機的運行頻率(n0=60f/p),由于滑差s一般情況下比較小(0-0.05),電機的實際轉速n約等于電機的同步轉速n0,所以調節了電機的供電頻率f,就能改變電機的實際轉速。
而改變頻率必須改變供電電壓,由交流電機成立的電磁關系式:
E=4.44fwΦ ………②
式中:E-電機電動勢,f-定子頻率,W-繞組系數,Φ-氣隙主磁通。
對異步電機調速時,希望主磁通Φ恒定,即U/F保持恒定,所以改變頻率時,供電電壓也應跟著變化。
2.高壓變頻器技術路線的選擇
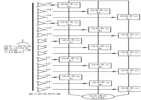
目前,因為功率器件耐壓的限制,高壓變頻器沒有像低壓變頻器一樣,有統一的拓撲結構。目前,市場上主流的高壓變頻器多采用單元串聯多電平的拓撲結構,系統結構如圖2所示:

圖2:高壓變頻器系統結構圖
由于這種結構是利用低壓功率器件實現高壓,巧妙的避開了電力電子功率器件耐壓不足的問題。同時通過前端的移相變壓器,實現了多脈沖整流,具有對電網諧波污染小的優點,有些廠家又把這種變頻器稱為“完美無諧波變頻器”。在變頻器的內部控制上,利用功率單元輸出波形的移相疊加,形成多電平輸出電壓波形,可以直接適配普通國產異步電機,對電機的絕緣沒有特殊要求,并且具有脈動轉矩小,無共模電壓的明顯優點。因為技術成熟,低壓功率器件易于采購,因此成為市場上的主流方案。通過全方位的調研,該化工廠確定了英威騰研發、生產的高壓變頻器CHH100產品。
.gif)
圖3:運行中的高壓變頻器
3. 一次主回路方案
通過咨詢和現場分析,決定采用一拖一手動旁路方案:主回路由負荷開關QF、3個高壓隔離開關QS1、QS2和QS3及高壓變頻器組成(如圖3)。其中要求QS2和QS3不能同時閉合,在機械上實現互鎖。高壓隔離開關QS1、QS2、SQ3加裝電磁鎖,電磁鎖的操作電源使用QF的輔助觸點閉鎖。只有當QF斷開時,QS1、QS2、SQ3的電磁鎖才能得電,可以正常操作。在變頻運行時,QS1和QS2閉合,QS3斷開,變頻器得電啟動后,電機處于變頻運行狀態;工頻運行時,QS3閉合,QS1和QS2斷開,QF閉合后,電機實現工頻直接啟動,恢復改造前的運行狀態。

圖4:高壓變頻器工頻旁路原理圖
四、 具體使用效果
1. 現場技術數據:
改變頻后比工頻運行時的參數對比表:
|
|
工頻 |
變頻 |
|
電機轉速 |
2980r/min |
1200r/min |
|
輸入電流 |
47A |
7A |
|
功率因數 |
0.47 |
0.85 |
|
出口閥門(FV1001)開度 |
35%-40% |
100% |
|
入口壓力 |
1.35MPa |
1.35MPa |
|
出口壓力 |
1.85MPa |
1.43MPa |
|
壓力差 |
0.5MPa |
0.08MPa |
|
出口流量 |
20190m3/h |
8455m3/h |

節省電費為M=1291680-348192=943488元≈94.3萬元。
2. 變頻器運行情況:
采用變頻調速后,帶來的最大好處有以下幾點:
1.電機實現軟啟動,電機啟動電流遠遠小于額定電流,啟動時間相應延長,對電網沖擊很小。
2.壓縮機出入口壓力差降低了很多。以前壓差5公斤,設備嘯叫嚴重,能達到120分貝;改變頻后壓差為0.8公斤,噪音僅為75分貝左右。從而減輕了起動機械轉矩對電機機械損傷,降低了噪音,有效的延長了電機的使用壽命,相應地延長了許多零部件的壽命;同時極大的減輕了對管道的沖擊,有效延長了管道的檢修周期,減少了檢修維護開支,節約大量維護費用。
3.輸入電流減少很多,以前電流很多都做了無用功,浪費極大。
4.提高了功率因數
五、 客戶評價
通過對離心式壓縮機改造前后的對比,達到了預期的節能效果,給用戶的生產降低了成本減少了生產設備的維護工作;目前英威騰CHH100高壓變頻器運行穩定,生產持續,受到該化工廠生產車間、維護班組和公司領導的高度評價。
六、 結束語
我公司通過對離心式循環壓縮機的電機變頻調速改造,有效解決了之前運行過程中出現的啟動困難問題,改善了生產工藝,延長了設備檢修周期,并且取得了良好的經濟效益。隨著高壓變頻器市場的進一步成熟,將會有越來越多的設備列入改造之列,為國家的節能減排作出貢獻。
參考文獻
[1].高壓變頻調速系統CHH100系列產品技術手冊
[2].高壓變頻器應用資料匯編-石化行業
關于英威騰:
英威騰,成立于2002年,致力于成為全球領先、受人尊敬的電氣傳動、工業控制、新能源領域產品與服務供應商,2010年在深交所A股上市。英威騰是國家火炬計劃重點高新技術企業,總部員工1100多人,國內、外辦事處30余個,控股子公司9家,業務涉及電氣傳動、工業自動化、新能源、軌道交通牽引、礦用防爆、能源管理、樓宇智能等領域。在基礎業務變頻器領域,英威騰占據國內領先地位,擁有覆蓋高、中、低壓通用及各行業專用豐富的產品系列,產品在市政、塑膠、油田、化工、冶金、紡織、機床、礦山等行業廣泛應用,產品銷售遍布全球60多個國家和地區。
更多詳情,請訪問公司官網www.invt.com






